
Like Robert Frost, I have miles to go before I sleep, and all because I took the road less traveled…
This is a long-term work-in-progress…
I am including SEA in my Matlab GUI package.
The functions can be accessed via:
vibrationdata > Miscellaneous Functions I > Acoustics & Vibroacoustics
I am using textbooks by Lyon, DeJong, Wijker, Norton & Karczub, along with AutoSEA and VAPEPS manuals.
I am compiling SEA parameter equations scattered among various references into a single document. He is my result so far: SEA_parameters_revad.pdf
Please feel free to recommend additions or corrections.
* * *


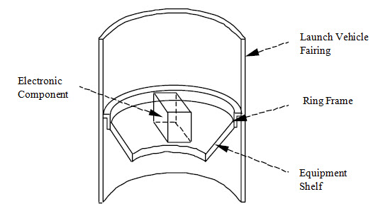
Launch vehicle example: SEA_cylindrical_shell_shelf.pdf
Payload fairing example: SEA_payload_fairing_acoustics.pdf
A Comparison of Vibroacoustic Coupling in Launch Vehicles between Diffuse Acoustic Field and Turbulent Boundary Layer Excitation: SEA_DAF_TBL_power.pdf
* * *
See also:
Notes on the Barrett Scaling Method
* * *
NASA References:
Compendium of Modal Densities for Structures, NASA-CR-1773
Techniques for Predicting Localized Vibratory Environments of Rocket Vehicles, Barrett, R. E., NASA TN D-1836
Statistical Techniques for Predicting Localized Vibratory Environments of Rocket Vehicles, Barrett, R. E., NASA TN D-2158
Using the Saturn V and Titan III. Vibroacoustic Databanks for Random. Vibration Criteria Development, R.C. Ferebee, Marshall Space Flight Center, Alabama NASA-TM-2009-215902 and Saturn V and Titan Databanks
Vibration Level Variation by Axis from Saturn V Flight Data: Saturn_V_axis.pdf
* * *
Other References:
Cremer, Heckl, Ungar, Structure-Borne Sound: Structural Vibrations and Sound Radiation at Audio Frequencies
* * *
Tom Irvine
Email: tom@irvinemail.org
4 thoughts on “Vibroacoustics/Statistical Energy Analysis”